sp45f数字锁定平衡阀

蒸汽电磁阀

  • 质量稳定
  • 价格合理
  • 交货快捷
  • 天力水暖为您提供全套工程阀门解决方案
  • 销售:0577-8681 5766
  • 传真:0577-8683 8292
  • 地址:浙江省温州市龙湾沙城七五兴业路11号
15325513395

详细介绍

蒸汽电磁阀产品规格
型号 2L1700 2L1706 2L170-20 2L200-25 2L350-35 2L300-40 2L500-50
符号  
使用液体 蒸汽、水、空气
动作方式 引导式(先导式)
型式 常闭式
流量孔径mm 17 22 30 50
CV值 4. 12 20 4
接管口径G 3/” 1/2” 3/4” 1” 11/4 11/2 2”
使用液体粘度 20CST以下
使用压力kg/cm2 蒸汽、水、空气:0.6.16
最大耐压力kg/cm2 20
工作温度℃ -5∽10(US工作温度-5∽200℃)
使用电压范围 ±10%
本体材质 黄铜和不锈钢良种,不锈钢在型号后加"√"
油封材质 聚四氯乙烯.PTFE
外形尺寸L×H 2×146 2×146 2×146 91×162 112×15 112×15 165×225
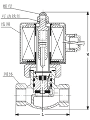
产品结构

蒸汽电磁阀

© 2017 温州天力水暖设备有限公司 版权所有 备案号:浙ICP备19051804号 瑞奇阀门
Top

[关闭]免费接听天力销售工程师电话

输入手机或固定电话号码,点击“免费咨询”按钮后,
我们的服务人员会在15秒内回拨您。

手机请直接输入:如 13878800000
座机前请加区号:如 02168103333
我们已对本次通话全程加密,您的通话费用我们已经帮您支付,请放心接听!
免费通话所产生的费用由我们来支付,请放心接听!
销售热线:0577-86815766