详细介绍
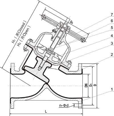
| 产品特点 设计与制造:GB122239 结构长度:GB12221、JB1688 法兰连接尺寸:GB4216、JB78 G45J直流式衬胶隔膜阀,直流式隔膜阀,衬胶隔膜阀 产品用途 本阀专用于控制非腐蚀性或一般腐蚀性介质,阀体内腔表面无衬里或覆有可供选择的各种橡胶,适用于不同工作温度和流体管路。 适用温度:≤85℃、≤100℃、 ≤120℃(按照衬里和隔膜材料) 压力等级:PN0.6、1.0、1.6 产品材料阀体:铸铁、球墨铸铁、碳钢、不锈钢阀盖:铸铁、球墨铸铁、碳钢、不锈钢 衬里:无衬里、橡胶 隔膜:橡胶 阀瓣:铸铁、碳钢 阀杆:碳钢、不锈钢手轮:铸铁 产品测试衬里层:电火花检测试验与检验按GB/T13297标准 公称压力:PN(Mpa) 阀体:PN×1.5 密封:PN×1.1 结构特点隔膜阀是一种特殊形式的截止阀;1、弹性密封的开闭件,确保没有内漏; 2、流线型的流道,使得压力损失小; 3、没有填料函,因此没有外漏; 4、阀体与盖被中间隔膜隔开,使得隔膜上方的阀盖,阀杆零件不受介质侵蚀; 5、隔膜可更换,维护费用低; 6、衬里材料的多样性,可适用于各种介质,并具有良好的耐腐蚀性。 衬胶直流式隔膜阀主要尺寸及重量
产品结构![]() |

水力控制阀结构视频
国标电站闸阀视频
插板阀
结构视频





扫一扫关注我们