sp45f数字锁定平衡阀

GCQ型自清洗式水过滤器

  • 质量稳定
  • 价格合理
  • 交货快捷
  • 天力水暖为您提供全套工程阀门解决方案
  • 销售:0577-8681 5766
  • 传真:0577-8683 8292
  • 地址:浙江省温州市龙湾沙城七五兴业路11号
15325513395

详细介绍

产品用途
本产品适用于造纸、钢铁、化工、发电和环保等需连续用水的场合,用于滤除水体中的固态颗粒和杂质,确保其后续或终端设备能顺利运行,是一种先进、高效且易操作的全自动过滤装置。

 

结构特点与工作原理
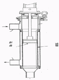
GCQ型自清洗式水过滤器由壳体、多元滤芯、反冲洗机构、电控箱、减速机、电动阀门和差压控制器等部分组成。壳体内的横隔板将其内腔分为上、下两腔,上腔内配有多个过滤芯,这样充分利用了过滤空间,显著缩小了过滤器的体积,下腔内安装有反冲洗吸盘。工作时,浊液经入口进入过滤器下腔,又经隔板孔进入滤芯的内腔。大于过滤芯缝隙的杂质被截留,净液穿过缝隙到达上腔,最后从出口送出。
本过滤器滤芯采用高强度的Johnson楔形滤网,通过压差控制、定时控制自动清洗滤芯。当过滤器内杂质积聚在滤芯表面引起进出口压差增大到设定值,一般设定值为0.04MPa,或定时器达到预置时间时,电动控制箱发出信号,驱动反冲洗机构。当反冲洗吸盘口与滤芯进口正对时,排污阀打开,此时系统泄压排水,吸盘与滤芯内侧出现一个相对压力低于滤芯外侧水压的负压区,迫使部分净水从滤芯外侧流入滤芯内侧,吸附在滤芯内壁上的杂质微粒随水流进吸盘内并从排污阀排出。特殊设计的Johnson网使得滤芯内部产生喷射效果,任何杂质都将被从光滑的内壁上冲走。当过滤器进出口压差恢复正常或定时器设定时间结束,电机停止运转,电动排污阀关闭。整个过程中,物料不断流,反洗耗水量少,实现了连续化,自动化生产。

产品结构

主要技术参数

  公称直径:DN50~DN800mm
  设计压力:1.0MPa(另外有1.6MPa和2.5MPa可供选用)
  过滤精度:(1)冲孔板结构:≥1000μm(2)复合编织网结构:≥25 μm(3)Johnson楔形网:≥100μm
  差压设定值调节范围:0.02~0.16MPa
  切换差调节范围:0.035~0.15MPa
  反冲洗时间设定范围:1~24h
  压力损失:0.02~0.1MPa
  工作方式:手动、自动
  电机参数:380V 50HZ
  电机功率:0.15~2.2KW

© 2017 温州天力水暖设备有限公司 版权所有 备案号:浙ICP备19051804号 瑞奇阀门
Top

[关闭]免费接听天力销售工程师电话

输入手机或固定电话号码,点击“免费咨询”按钮后,
我们的服务人员会在15秒内回拨您。

手机请直接输入:如 13878800000
座机前请加区号:如 02168103333
我们已对本次通话全程加密,您的通话费用我们已经帮您支付,请放心接听!
免费通话所产生的费用由我们来支付,请放心接听!
销售热线:0577-86815766