详细介绍
主要特点
结构简单、价格低、动作可靠。漏气率<3%,不受压力波动的影响、压力范围大。由于密封面采用不锈钢制造,使用寿命高于国内同类产品。
热动力式蒸汽疏水阀 排水量(㎏/h)
主要零件材料
主要外形及连接尺寸
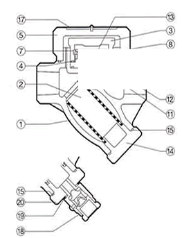
产品结构![]() | |||||||||||||||||||||||||||||||||||||||||||||||||||||||||||||||||||||||||||||||||||||||||||||||||||||||||||||||||||||||||||||||||||||||||||||||||||||||||||||||||||||||||||||||||||||||||||||||||||||||||||||||||||||||||||||||||||||||||||||||||||||||||||||||||||||||||||||||||||||||||||||||||||||||||||||||||||||||||||||||||||||||||||||||||||||||||||||||||||||||||||||||||||||||||||||||||||||||||||||

主要特点
结构简单、价格低、动作可靠。漏气率<3%,不受压力波动的影响、压力范围大。由于密封面采用不锈钢制造,使用寿命高于国内同类产品。
热动力式蒸汽疏水阀 排水量(㎏/h)
主要零件材料
主要外形及连接尺寸
产品结构![]() | |||||||||||||||||||||||||||||||||||||||||||||||||||||||||||||||||||||||||||||||||||||||||||||||||||||||||||||||||||||||||||||||||||||||||||||||||||||||||||||||||||||||||||||||||||||||||||||||||||||||||||||||||||||||||||||||||||||||||||||||||||||||||||||||||||||||||||||||||||||||||||||||||||||||||||||||||||||||||||||||||||||||||||||||||||||||||||||||||||||||||||||||||||||||||||||||||||||||||||||
输入手机或固定电话号码,点击“免费咨询”按钮后,
我们的服务人员会在15秒内回拨您。