sp45f数字锁定平衡阀

软密封闸阀

  • 质量稳定
  • 价格合理
  • 交货快捷
  • 天力水暖为您提供全套工程阀门解决方案
  • 销售:0577-8681 5766
  • 传真:0577-8683 8292
  • 地址:浙江省温州市龙湾沙城七五兴业路11号
15325513395

详细介绍

软密封闸阀产品概述
软密封闸阀明杆弹性座封闸阀,除具有弹性座封闸阀的优点之外,软密封闸阀并可以较直观阀门开度,软密封闸阀启闭迅速可靠,故常应用消防及工业系统,一般安装于距地面较高位置。

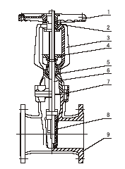
软密封闸阀主要零部件材料

NO.

零件名称

材质

1

手轮

可锻铸铁

2

阀杆螺母

铜合金

3

支架

碳铸铁、球墨铸铁、铸钢

4

压盖

球墨铸铁、铸钢

5

密封圈

丁腈橡胶、三元乙丙

6

阀杆

不锈钢

7

中口垫

丁腈橡胶、三元乙丙

8

闸阀

球墨铸铁+三元乙丙或丁腈橡胶

9

阀体

灰铸铁、球墨铸铁、铸钢

软密封闸阀主要技术参数

公称压力:1.0~2.5MPa
公称通径:50~400mm
工作温度:0~120℃
适用介质:水、油、气等
法兰标准:GB/T17241.6GB9113
试验标准:GB13927API598

软密封闸阀主要外形连接尺寸

DN

50

65

80

100

125

150

200

250

300

350

400

450

500

600

L

178

190

203

229

254

267

292

330

356

381

406

432

457

508

Hmin(全关)

313

332

372

424

497

562

680

837

948

1010

1220

1280

1480

1665

Hmax(全开)

355

375

415

476

540

600

720

875

990

1050

1245

1310

1560

1750

产品尺寸

软密封闸阀

© 2017 温州天力水暖设备有限公司 版权所有 备案号:浙ICP备19051804号 瑞奇阀门
Top

[关闭]免费接听天力销售工程师电话

输入手机或固定电话号码,点击“免费咨询”按钮后,
我们的服务人员会在15秒内回拨您。

手机请直接输入:如 13878800000
座机前请加区号:如 02168103333
我们已对本次通话全程加密,您的通话费用我们已经帮您支付,请放心接听!
免费通话所产生的费用由我们来支付,请放心接听!
销售热线:0577-86815766