sp45f数字锁定平衡阀

API美标、JIS日标球阀

  • 质量稳定
  • 价格合理
  • 交货快捷
  • 天力水暖为您提供全套工程阀门解决方案
  • 销售:0577-8681 5766
  • 传真:0577-8683 8292
  • 地址:浙江省温州市龙湾沙城七五兴业路11号
15325513395

详细介绍

产品用途
API球阀适用于石油、化工、水力、火力电站等各种工况的管路上,切断或接通介质。适用介质为:水、油品、蒸汽等。

产品结构特点
1.产品设计制造按GB12236设计标准,结构合理,密封可靠,外形美观。
2.阀瓣、阀座的密封面采用司太立(stellite)钴基硬质合金堆焊而成,耐磨、耐高温,抗擦伤性能好、使用寿命长。
3.可采用各种配管法兰标准及法兰密封面型式,满足各种工程需要及用户要求。
4.阀体材料品种齐全,填料、垫片根据实际工况或用户要求合理选配,能适用于各种压力、温度及介质工况。
5.阀瓣围绕阀座外的销轴旋转,减少关闭时发生猛烈冲击。
6.销轴与阀瓣连接采用内装式的销轴结构,减小外泄漏点,使用更可靠。

主要零件的材料说明
壳体 ASTM A216 WCB ASTM A351 CF8
阀瓣及支架 WCB CF8 CF8M Monel
销轴 F6a F304 F316 Monel F304
阀瓣表面 13Cr 13Cr STL 304 STL 316 STL Monel 304 304 STL
阀座表面 13Cr STL STL 304 STL 316 STL Monel 304 304 STL
 
壳体 ASTM A351 CF3 ASTM A351 CF8M ASTM A351 CF3M
阀瓣及支架
销轴 F304L F316 F316L
阀瓣表面 304L 304L STL 316 316 STL 316L 316L STL
阀座表面 304L STL STL 316 STL STL 316L 316L STL
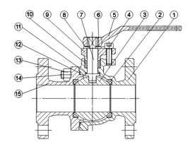
产品结构

© 2017 温州天力水暖设备有限公司 版权所有 备案号:浙ICP备19051804号 瑞奇阀门
Top

[关闭]免费接听天力销售工程师电话

输入手机或固定电话号码,点击“免费咨询”按钮后,
我们的服务人员会在15秒内回拨您。

手机请直接输入:如 13878800000
座机前请加区号:如 02168103333
我们已对本次通话全程加密,您的通话费用我们已经帮您支付,请放心接听!
免费通话所产生的费用由我们来支付,请放心接听!
销售热线:0577-86815766