sp45f数字锁定平衡阀

ALX43W美标提升式硬密封旋塞阀

  • 质量稳定
  • 价格合理
  • 交货快捷
  • 天力水暖为您提供全套工程阀门解决方案
  • 销售:0577-8681 5766
  • 传真:0577-8683 8292
  • 地址:浙江省温州市龙湾沙城七五兴业路11号
15325513395

详细介绍

产品概述
适用于公称压力CLASS150500LBS,工作温度-29~550℃的石油、化工、制药、化肥、电力行业等各种工况的管路上,切断或接通管路介质

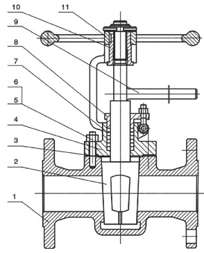
主要零部件材料
零件名称 阀体、阀盖 旋塞 衬套、填料、垫片 螺栓
X14F50(Lb)C
X14F-600(Lb)C
WCB 2Cr13 PTFE 35CrMo
X14F50(Lb)P
X14F-600(Lb)P
CF8 304 PTFE  1Cr17Ni2
X14F50(Lb)R
X14F-600(Lb)R
CF8M 316 PTFE 1Cr17Ni2
主要外形及连接尺寸
压力 公称通径DN 外形与连接尺寸(mm)
300Lb (ln) (mm) D D1 D2 Do L H b f z-Φd
1/2 15 95 66.5 35 - 140 110 15 2 4-Φ15
3/4 20 117 82.5 43 - 152 115 16 2 4-Φ19
1 25 124 89 51 - 165 115 18 2 4-Φ19
11/4 32 133 98.5 64 - 178 135 19 2 4-Φ19
11/2 40 156 114.5 73 - 190 140 21 2 4-Φ22
2 50 165 127 92 - 216 150 22 2 8-Φ19
21/2 65 190 149 105 - 241 165 25 2 8-Φ22
3 80 210 168.5 127 - 283 180 29 2 8-Φ22
4 100 154 200 157 300 305 380 32 2 8-Φ22
5 125 179 235 186 300 381 460 35 2 8-Φ22
6 150 318 270 216 320 403 520 38 2 12-Φ22
600Lb 8 200 381 330 270 320 419 580 41 2 12-Φ25
1/2 15 95 66.5 35 - 165 175 22 7 4-Φ15
3/4 20 118 82.5 43 - 190 175 23 7 4-Φ19
1 25 124 89 51 - 216 175 25 7 4-Φ19
11/4 32 133 98.5 64 - 229 220 28 7 4-Φ19
11/2 40 156 114.5 73 - 241 280 30 7 4-Φ22
2 50 165 127 92 - 292 305 33 7 8-Φ19
21/2 65 190 149 100 - 330 380 36 7 8-Φ22
3 80 210 168 127 - 356 450 39 7 8-Φ22
4 100 273 216 157 300 432 - 45 7 8-Φ25
5 125 330 266.5 186 300 508 - 52 7 8-Φ29
6 150 356 292 216 320 559 - 55 7 12-Φ29
8 200 419 349 270 320 660 - 63 7 12-Φ32
产品尺寸

© 2017 温州天力水暖设备有限公司 版权所有 备案号:浙ICP备19051804号 瑞奇阀门
Top

[关闭]免费接听天力销售工程师电话

输入手机或固定电话号码,点击“免费咨询”按钮后,
我们的服务人员会在15秒内回拨您。

手机请直接输入:如 13878800000
座机前请加区号:如 02168103333
我们已对本次通话全程加密,您的通话费用我们已经帮您支付,请放心接听!
免费通话所产生的费用由我们来支付,请放心接听!
销售热线:0577-86815766